Запчасти Volvo SD100C S/N 198060 - 51243 Cab Heater and A/C Installation

Схема запчастей Volvo SD100C S/N 198060 - - 51243 Cab Heater and A/C Installation
FIT
1:1
100%

Артикул

Название

Примечание

Количество

RM 59154807

Cap

1шт.

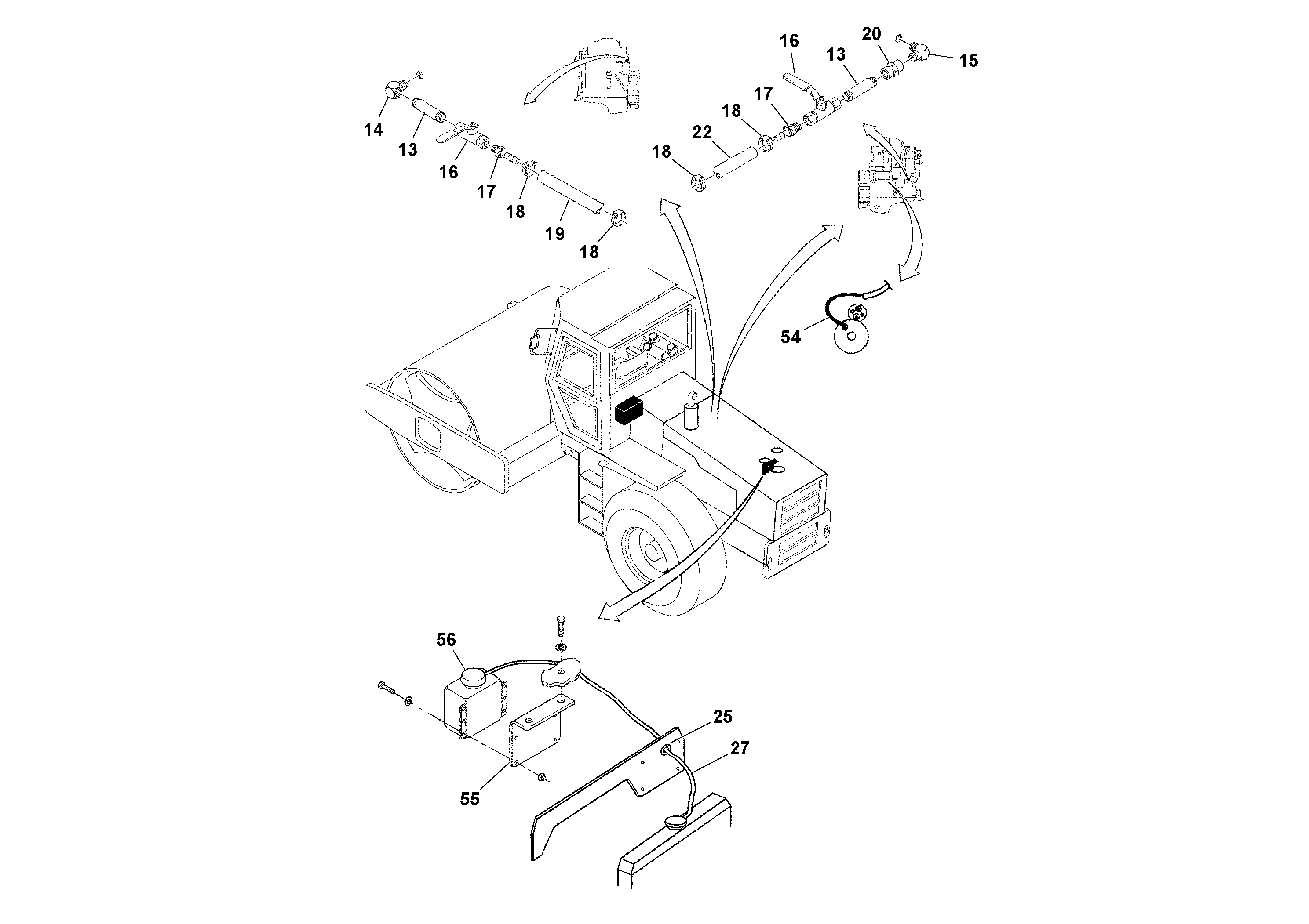
13

RM 58910720

Фиттинг

1шт.

14

RM 95221024

Адаптер

1шт.

15

RM 95317426

Elbow

1шт.

16

RM 59564575

Ball valve

1шт.

17

RM 95302311

Адаптер

1шт.

18

RM 95090106

Зажим

1шт.

19

RM 59208223

Шланг

1шт.

20

RM 59520080

Coupling piece

1шт.

22

RM 59208231

Шланг

1шт.

25

RM 59704403

Уплотнительная втулка

1шт.

25

RM 59704403

Уплотнительная втулка

1шт.

27

RM 59487058

Шланг

1шт.

54

RM 59220236

Cable harness

1шт.

55

RM 13326335

Кронштейн

1шт.

56

RM 54467329

Plastic bottle

1шт.

Выбрано товаров: 16