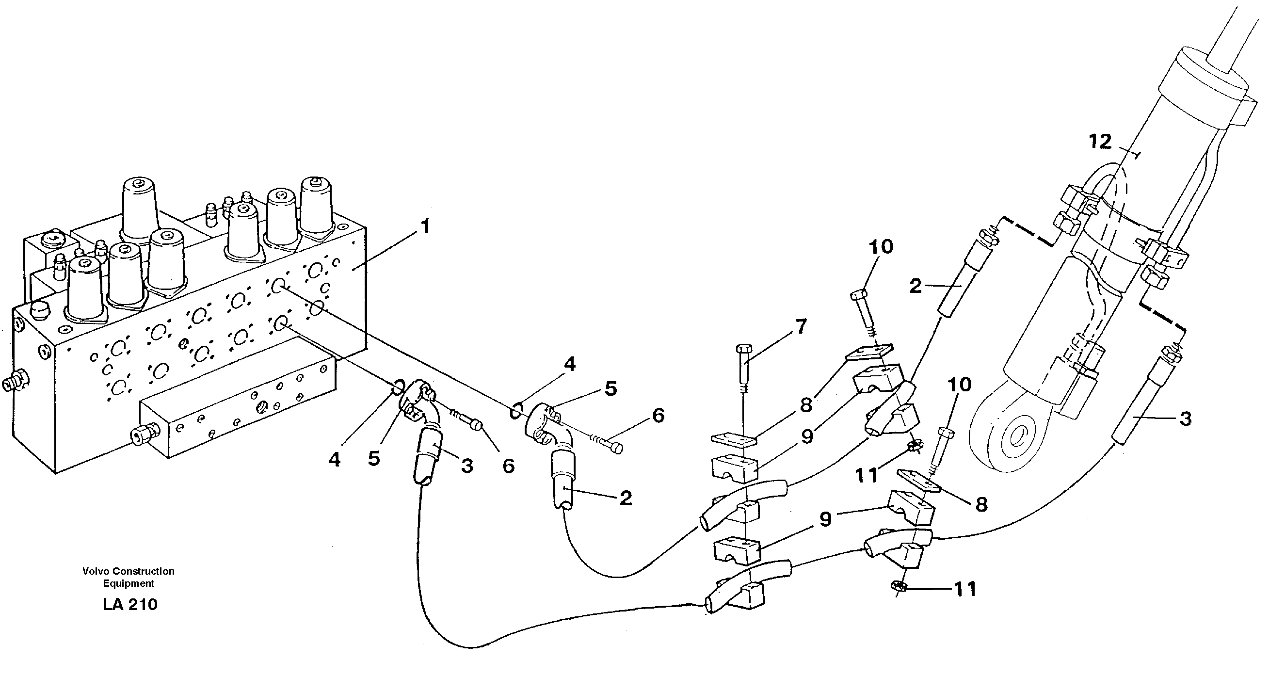
Запчасти Volvo EW150C 89543 Hydraulic system, boom EW150C SER NO 689-

№
Артикул
Название
Примечание
Количество
10
VOE 13970958
Винт шестигранник
1шт.
10
VOE 13970958
Винт шестигранник
1шт.
11
VOE 971071
Hexagon nut
1шт.
11
VOE 971071
Hexagon nut
1шт.
2
VOE 14267474
Hydraulic hose
1шт.
3
VOE 14267473
Hydraulic hose
1шт.
4
VOE 990742
Кольцо уплотнительное (О-кольцо)
1шт.
4
VOE 990742
Кольцо уплотнительное (О-кольцо)
1шт.
5
VOE 935312
Flange half
1шт.
5
VOE 935312
Flange half
1шт.
6
VOE 959240
Allen Hd Screw
1шт.
7
VOE 13970962
Винт шестигранник
1шт.
7
VOE 13970962
Винт шестигранник
1шт.
8
VOE 14251451
14251451
1шт.
9
VOE 14251450
Hose retainer
1шт.
Выбрано товаров: 15