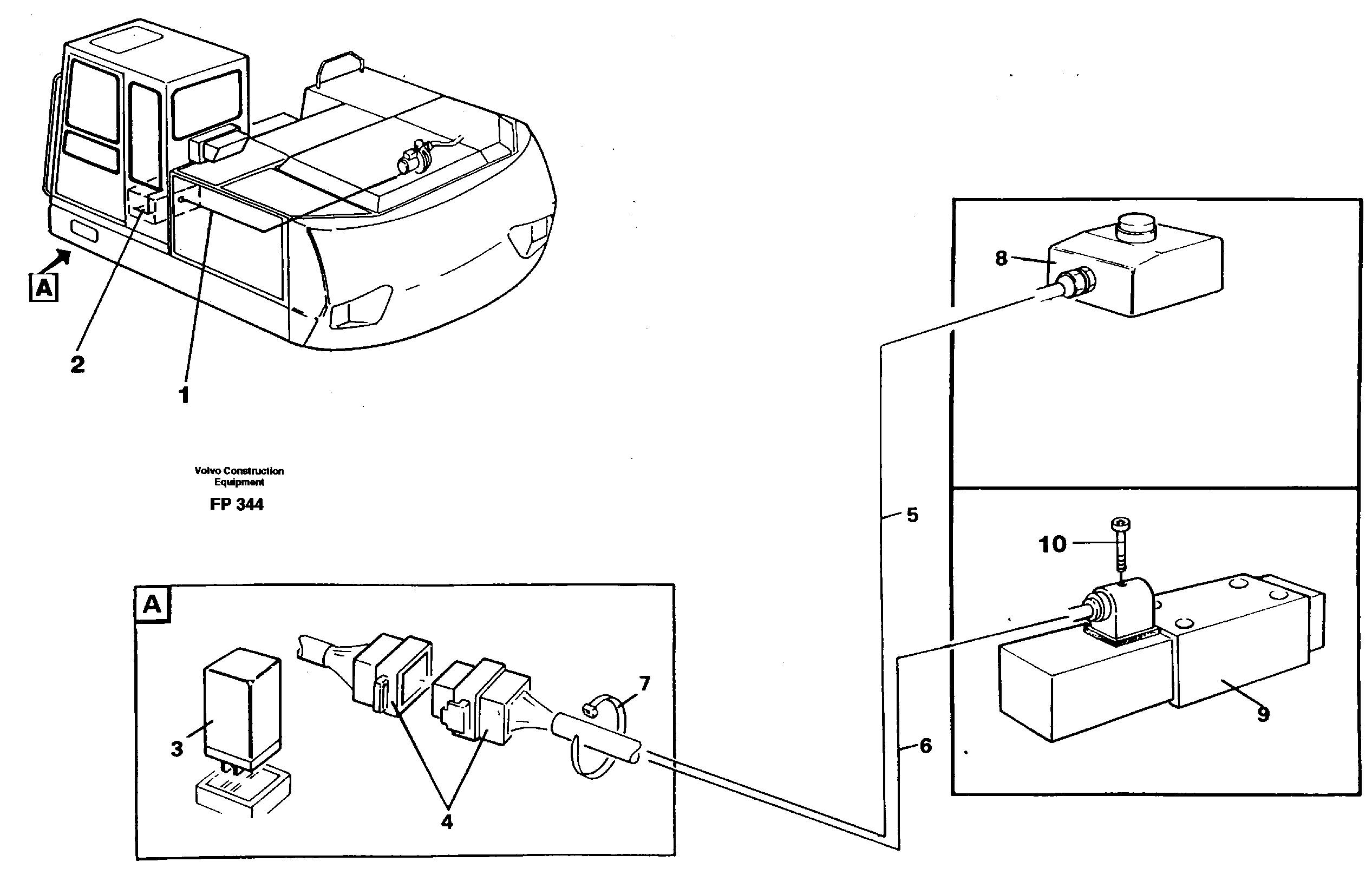
Запчасти Volvo EW150C 14768 Electric installation, overfilling protection EW150C ?KERMAN ?KERMAN EW150C SER NO - 688

FIT
1:1
100%
№
Артикул
Название
Примечание
Количество
1
VOE 14259717
14259717
1шт.
10
VOE 14214000
Болт
1шт.
10
VOE 14214000
Болт
1шт.
2
VOE 14259515
Cable
1шт.
3
VOE 11000132
Реле
1шт.
3
VOE 11000132
Реле
1шт.
4
VOE 948295
Insulator
1шт.
4
VOE 948295
Изолятор
1шт.
5
VOE 970628
El Cable
1шт.
6
VOE 970624
El Cable
1шт.
7
VOE 14016673
Strip clamp
1шт.
7
VOE 14016673
Strip clamp
1шт.
8
VOE 14261934
14261934
1шт.
Выбрано товаров: 13