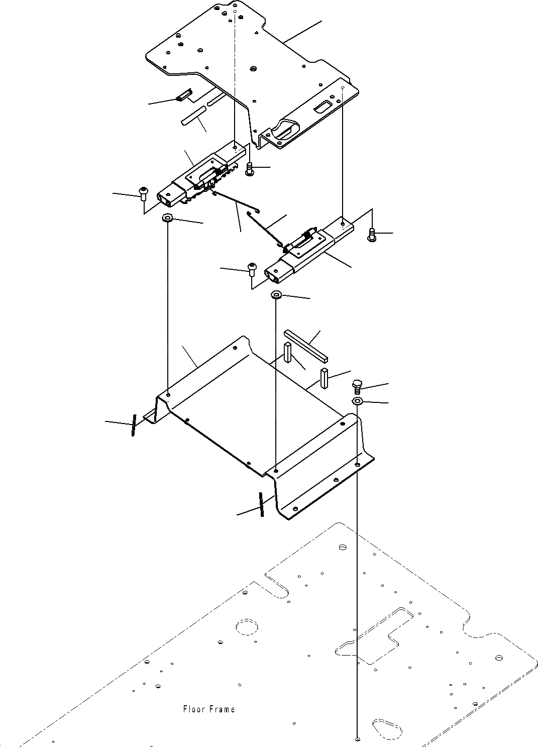
Запчасти Komatsu PC160LC-8 КАБИНА (ПОЛ)(ОСНОВ.) K

13
15
9
12
10
10
11
11
14
8
7
8
14
3
2
2
5
6
1
4
4
FIT
1:1
100%
№
Артикул
Название
Примечание
Количество
1
20Y-43-41231
FRAME
2
208-43-71520
SEAL
3
208-43-71530
SEAL
4
208-43-71590
SEAL
5
01010-81230
BOLT
6
01643-31232
WASHER
7
2A5-43-12353
ADJUSTER,LH
8
01245-01025
SCREW
9
2A5-43-12363
ADJUSTER,RH
10
01245-01025
SCREW
11
20Y-43-41833
WIRE
12
22U-43-21390
CAP
13
20Y-43-41253
FRAME
14
2A5-43-12480
WASHER
15
20Y-979-6630
CATCHER
Выбрано товаров: 15