Запчасти Case 35 (180) - POWER SENSING RELIEF VALVE (35) - HYDRAULIC SYSTEMS

№
Артикул
Название
Примечание
Количество
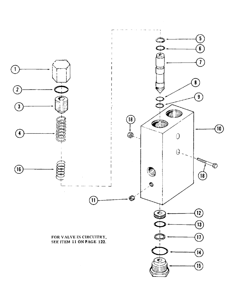
S509073
VALVE
power sensing relief
1шт.
1
S99874
CAP
2шт.
2
S99870
WASHER
seal
2шт.
3
S99875
SCREW
adjuster
2шт.
4
S99872
SPRING
2шт.
5
S99877
BACK-UP RING,Split, 9.91mm ID x 12.65mm OD x 1.32mm Thk
back-up
2шт.
6
S6144
O-RING,0.07" Thk x 0.364" ID, -12, Cl 5, 75 Duro
"O" RING - .364" ID x .500" OD
2шт.
7
NSS
NOT SOLD SEPARAT
PISTON
2шт.
8
W13170
O-RING,0.395" ID x 0.04" Width
"O" RING
2шт.
9
S99879
RING
back-up
2шт.
10
NSS
NOT SOLD SEPARAT
BODY, valve
1шт.
11
S14045
SET SCREW
SCREW, set - 5/16" NC x 5/16"
1шт.
12
S99946
SEAT
2шт.
13
S5608
O-RING
"O" RING - .551" ID x .687" OD
2шт.
14
S6063
RING
"O" RING - .755" ID x .949" OD
2шт.
15
S99876
CONNECTOR, ELEC
CONNECTOR, reducing
2шт.
16
S107871
SPRING
compression
2шт.
17
L30012
RING
back-up
2шт.
86625061
NUT,1/4"-20, GB
NUT, self locking - 1/4" NC
2шт.
19
S107816
SEAL ASSY.
KIT, seal and "o" ring - (Includes items 2, 5, 6, 8, 9, 13, 14 and 17)
1шт.
Выбрано товаров: 21